近日,国内侵入式脑机接口领军企业——北京智冉医疗科技有限公司(简称“智冉医疗”)宣布完成3亿元人民币A+轮融资。本轮融资由中科创星领投,老股东君联资本、北京市医药健康产业投资基金、IDG资本、顺为资本、联想创投、元生创投、红杉中国、美团龙珠、BV百度风投、杏泽资本、佳银资本持续跟投。值得关注的是,这是智冉医疗半年内完成的第二轮融资,去年8月公司刚获超3亿元A轮融资,时隔半年老股东集体加注、资本再度重仓,充分印证市场对其在侵入式脑机接口赛道技术全栈能力与发展潜力的双重认可。据悉,本轮融资主要用于推进大规模临床试验、高通量柔性脑机接口产品迭代,加速侵入式脑机接口技术的临床应用落地。智冉医疗由方英博士与宋麒博士共同创立,形成“科研+产业”深度互补的创始人组合。
方英博士作为创始人兼首席科学家,中国科学技术大学9719校友,哈佛大学博士,现任北京脑科学与类脑研究所研究员、博导,入选中组部“万人计划”青年拔尖人才,并牵头科技部脑专项“神经记录与调控新技术平台”。她在电极、材料与硬件领域积淀深厚,其全球首创的可注射柔性电极技术为智冉医疗奠定了核心技术源头。
近期,由她领衔的团队成功研制出“可拉伸高通量柔性电极”,在保持高通量信号采集能力的同时实现生物力学顺应性,一举破解传统线性柔性电极易移位、易脱出的行业难题。相关成果已于2月5日发表于国际期刊《自然·电子学》,并获《人民日报》《科技日报》等权威媒体关注。
而宋麒博士作为创始人兼首席执行官,毕业于爱荷华大学电子计算机工程专业,曾任国内AI医疗头部企业创始人、CEO。其主导开发的多个AI医疗影像及数据项目,成功拿下国内首张AI医疗NMPA三类证及首张CE认证,在软件算法、公司管理、临床注册与商业化方面经验丰富。
丨从柔性电极到植入机器人,打通侵入式脑机接口产业闭环
当前全球脑机接口产业已进入技术分化与临床转化的关键窗口期。侵入式、半侵入式、非侵入式三大路线差异化竞争,其中侵入式路线凭借信号采集的高精度、高实时性与高通量,成为严肃医疗与人机交互的核心突破口。
侵入式与半侵入式的本质区别在于电极与脑组织的物理位置关系。半侵入式电极置于硬膜上/下,信号随距离衰减显著,时空间分辨率受限,难以提取精细神经编码;而侵入式路线将柔性电极直接植入脑组织,可精准捕获单神经元动作电位,实现对精细动作的高精度实时解码,并在信息传输速率上形成数量级优势。
而在全球侵入式脑机接口技术竞争中,国外由Neuralink领跑,国内则以智冉医疗为代表。
智冉医疗成立于2022年,依托核心技术突破与全链条自主创新,成为国产侵入式脑机接口领军企业。其是主要专注于研发新一代侵入式柔性脑机接口平台赋能神经系统疾病精准诊疗,汇聚了来自先进材料、微纳制造、手术机器人、脑科学、人工智能等多个前沿领域的全球顶尖科学家团队。
成立至今,智冉医疗已完成侵入式脑机接口产业链上中游的系统化布局,构建起从核心技术研发到规模化量产的完整产业闭环。公司在柔性电极、神经芯片、解码算法、电极植入机器人四大核心技术底座上,更自建近2000平方米临床级微纳加工车间与GMP标准组装车间,实现临床级产品的全链条自主可控,已具备规模化生产能力。
核心产品“侵入式高通量柔性电极”采用超薄可拉伸设计,厚度达微米级,在保障生物相容性的同时大幅降低植入损伤与免疫炎症反应,支持平均每通道采集超过一个活跃神经元,有效突破传统电极长期信号不稳的瓶颈。
该电极已获中、美两国专利授权,2025年还完成全球首例人体植入实验,验证信号采集与脑部刺激的可行性。
智冉医疗自研的侵入式超薄柔性电极
在此基础上,公司自研全植入式高通量无线信号采集系统,支持最高1024通道神经元动作电位精准采集,搭载植入式可充电电池并已通过外部无线感应式充电器实现充电(该电池已顺利通过IEC62133 国际安全标准认证)。
智冉无线植入式信号采集系统
在算法方面,智冉医疗自研深度神经网络算法实现高通量脑电信号在线实时解码。同时,采用自适应网络,实现模型在线自动更新,进一步提升解码精度和算法通用性。
在数据端,智冉医疗自建高精度脑电数据平台,拥有超过60T动物神经元脑电数据、数十T人类深部脑区神经元脑电数据。依托于已有海量脑电数据,智冉预训练神经元脑电大模型,加速模型训练速度,提升解码模型通用性及脑电解码精度,支持更多临床场景。


同时,其国产神经信号采集芯片仅有硬币大小,功耗较传统芯片直降75%;深度神经网络解码算法,依托海量神经元脑电数据进行训练,可实现高精度的实时解码。此外,公司还自研高精度智能化电极植入机器人实现微米级定位、自动避障与路径规划,打通高通量侵入式脑机接口大规模临床应用的“最后一公里”。
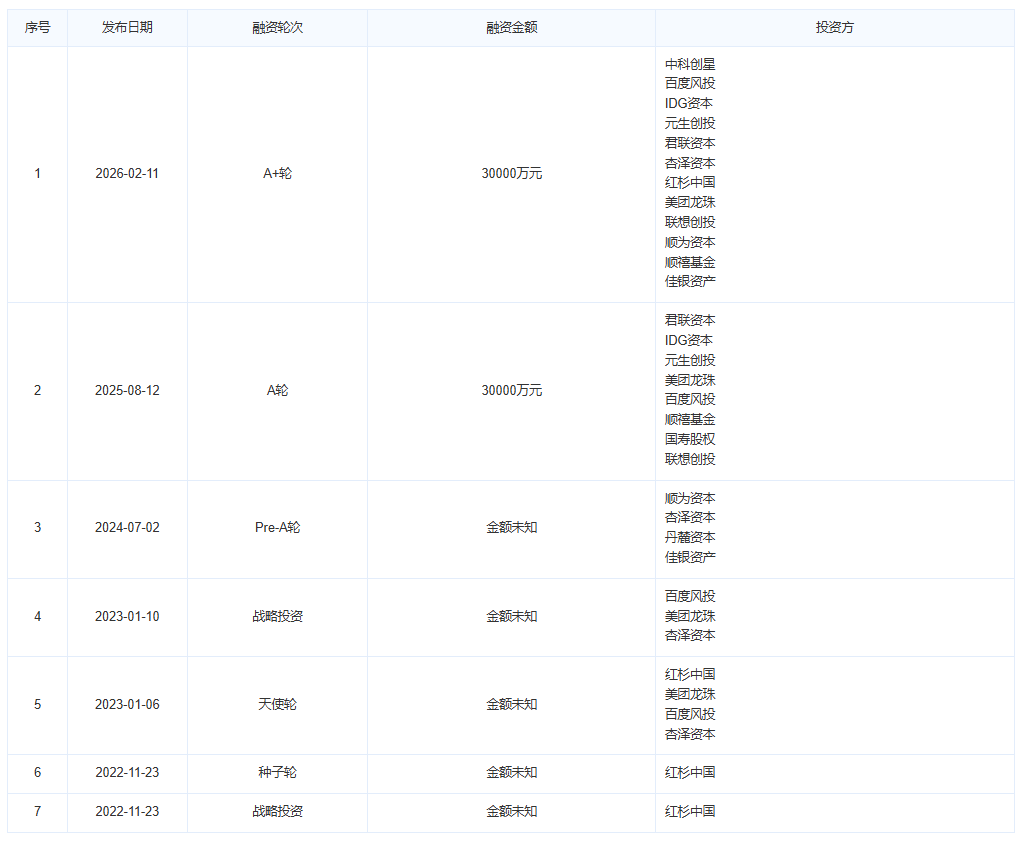
在临床试验方面,2025年智冉医疗完成了超百通道侵入式脑机接口产品的临床植入,初步验证了产品安全性、有效性。宋麒透露,2026年计划启动超百通道侵入式脑机接口产品的规模化注册临床试验。2022年成立至今,智冉医疗已累计完成至少7轮融资,持续获得一线资本的密集加注。从种子轮起即获红杉中国连续押注,单A轮与A+轮两轮累计融资就已超6亿元。
截止目前,投资方阵容包括君联资本、IDG资本、元生创投、百度风投、美团龙珠、联想创投、顺为资本、中科创星、杏泽资本、红杉中国、顺博基金、国寿股权、丹麓资本、佳银资产、中科创星等十余家头部市场化机构及产业资本。
目前,全球范围内以Neuralink为代表的侵入式脑机接口企业正加速产能扩张与手术自动化,2025年6月,其完成6.5亿美元的E轮融资后,估值已突破90亿美元。与此同时,国内也同步迎来政策与支付端的双重破局。“十五五”规划将脑机接口列为六大未来产业之一,多地设立数十亿元专项基金;国家医保局已明确脑机接口服务独立收费立项,临床应用路径正在打开。一系列举措的相继实施,充分表面了各方推动脑机接口产业发展的坚定决心,那些具备侵入式脑机接口平台能力的企业,也将迎来加速实现落地应用的良好契机。要知道,在技术层面,脑机系统的信号采集质量、长期稳定性与植入安全性等,依然是行业核心焦点。因此,本轮融资不仅是顶尖资本对智冉医疗核心技术与临床进展的集中确认,更是其在脑机接口从实验室走向严肃医疗的关键窗口期,毕竟,谁具备全栈平台能力、自主供应链与真实人体数据的企业,或许会成为资源汇聚的核心标的。